Описание
Реле максимального тока РЭО-401
предназначено для защиты от перегрузок и токов короткого замыкания электродвигателей постоянного тока и асинхронных электродвигателей с фазным ротором переменного тока при частоте сети 50Гц.
Многополюсное реле РЭО-401 (состоящее из нескольких электромагнитных систем реле и одного блок-контакта, собранных на общей скобе), предназначено для комплексной защиты электродвигателей.
Условия эксплуатации РЭО-401
Высота над уровнем моря до 4300м
Диапазон рабочих температур от -50 до +55°С
Окружающая среда взрывобезопасная, не содержащая пыли в количестве, нарушающем работу реле, а также агрессивных газов и паров в концентрациях, разрушающих металлы и изоляцию.
Вибрация мест крепления реле в диапазоне частот от 1 до 25Гц при ускорении не более 0.7g.
Крепление реле на вертикальной плоскости с допустимым отклонением не более 50 в любую сторону.
Технические характеристики РЭО-401
Номинальный ток втягивающей катушки, А Пределы регулировки по току срабатывания (1.3…4)IH, А Диаметр шпильки вывода реле, d, мм ПВ-100% ПВ-40% 320 480 420…1280 М12 250 375 325…1000 М12 160 240 210…640 М10 100 150 130…400 М8 63 95 82…252 М8 40 60 52…160 М6 25 38 33…100 М6 16 24 21…64 М6 10 15 13…40 М6 6 9 8…24 М6
Реле РЭО 401- производится с номинальным напряжением катушки: 6;10;16;25;40;63;100;160;250;320А.
Пределы регулирования по току срабатывания, А 52-160;
Вес реле =680гр
Устройство и работа
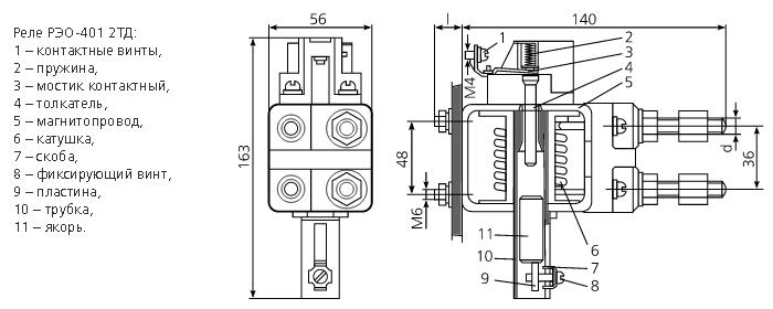
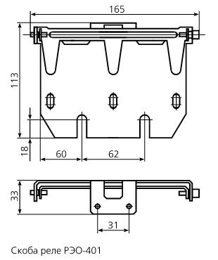
Реле состоит из двух основных узлов — электромагнитной системы и размыкающего блок-контакта. Электромагнитные системы реле имеют скобу магнитопровода 5 с ввернутой в нее трубкой 1 О, на которой расположена втягивающая катушка 6 на изоляционном каркасе. Внутри трубки находится якорь 11, который имеет возможность свободного перемещения вдоль трубки. Положение якоря определяет величину тока срабатывания реле.
При движении вверх якорь через толкатель 4 размыкает контакты электрической блокировки. Регулирование тока срабатывания реле РЭО-401 производится изменением положения скобы 7 с фиксацией ее положения винтом 8. Контакты блок-контакта после срабатывания реле РЭО-401 остаются разомкнутыми до тех пор, пока не будет разомкнута цепь катушки или ток в катушке не понизится до величины, при которой якорь реле отпадает.
После этого якорь с толкателем возвращается в свое нижнее положение и контакты под действием пружины 2 замыкаются. Присоединение проводов к реле переднее.
Длина шпильки крепления I — 1 б либо 42мм.

























